地球物理测井是什么?
的有关信息介绍如下:地球物理测井(以下简称测井)是用专门的仪器沿钻井井身测量岩石的各种物理特性、流体特性(如导电性、导热性、放射性、弹性,等等),根据不同岩石及其内部流体的这些特性的差别,可以间接划分地层,判别岩性和油、气、水层。测井具有工艺简便、成本低、获取资料迅速、效果好等特点,取得的资料是油气田地质研究、油气田开发工作必不可少的资料。测井技术发展很迅速,不但能定性判断岩性,还可以定量确定岩石物性、地层产状;不但用于油气勘探地质解释,还用于钻井、试油、采油工程等。下面简要介绍几种常用的测井方法。
一、视电阻率测井
视电阻率测井的实质是利用地下不同岩石导电性能的差别,间接判断钻穿岩层的性质,在井中下入测井仪,沿井身测定岩层电阻率的变化情况,与钻井过程中取得的地层岩心、岩屑等资料结合,可以较准确地划分井中地层界线和确定地层岩性。
(一)井下岩石电阻率的测量
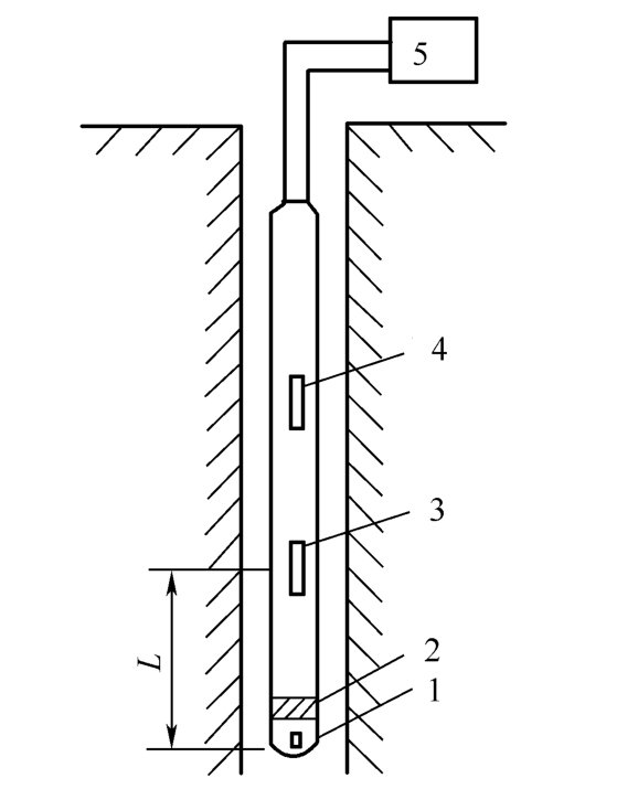
视电阻率测井装置如图3-3所示,主要是包括供电线路、测量线路和井下电极系三部分。井下电极系是通过电缆与地面供电—测量系统连接。电极共有四个:A、B、M、N。其中A、B为供电极,接入供电线路;M、N为测量电极,接入测量线路。接入同一电路中的电极称为成对电极。在井下,几个电极组成电极系,根据井内成对电极和不成对电极的距离不同,可以组成电位电极系和梯度电极系(见图3-4)。成对电极在不成对电极下方的电极系,称底部梯度电极系。

图3-3 视电阻率测井原理图

图3-4 电极系的电阻距与记录点
为了表示电极系的大小和便于计算测量深度,规定了电极系的电极距L和记录点O。电位电极系的电极距L为两个相邻最近电极A、M之间的距离,记录点O为A、M的中间点;梯度电极系电极距L为不成对电极到成对电极中点的距离,记录点O为成对电极之间的中间点。
当电极系由井底向井口移动时,由供电电极供给电流,在地层中形成人工电场。由测量电极M、N测量M、N两点的电位差ΔUMN。M、N两点的电位差主要由其所在位置附近的岩层电阻率决定:岩层电阻率越高,测得的电位差越大;反之,测得的电位差越小。沿井身电位差的变化反映了井内不同地层电阻率的变化。由于电极系是在井筒钻井液中移动,钻井液电阻率以及钻井液侵入地层后侵入带电阻率都与岩层真实电阻率不同,加上上下邻层屏蔽等因素的影响,使得M、N两点测得的电阻率不能代表岩层真电阻率,我们称为视电阻率,用Ra表示。可以根据不同电极距测量结果,求得岩层真电阻率。
(二)视电阻率曲线形状
将电极系沿井身移动,通过地面仪器记录,可以测得一条反映地下岩层视电阻率变化的曲线。
1.梯度电极系视电阻率曲线
当岩层厚度h大于电极距AO时,对于底部梯度电极系,在高电阻率岩层底界面出现视电阻率极大值(R1),而在其顶界面出现视电阻率极小值(R2),因此可以用这一特征划分岩层顶、底界面,如图3-5(a)所示。
当岩层厚度小于电极距时,视电阻率曲线仍有上述特点,并出现假极大值。对于底部梯度电极系,假极大值位于岩层底界面以下一个电极距处,如图3-5(b)所示。

图3-5 底部梯度视电阻率曲线2.电位电极系视电阻率曲线
当岩层厚度大于电极距时,视电阻率曲线以岩层中点为界上下对称,在岩层中点出现视电阻率极大值。可以用曲线的半幅点划分岩层顶、底界面,如图3-6(a)所示。
当岩层厚度小于电极距时,在高电阻率岩层的中心出现视电阻率极小值。在这种情况下,电位电极系视电阻率曲线不能反映岩层的真实情况,如图3-6(b)所示。
图3-6 电位电极系视电阻率曲线(三)视电阻率曲线应用
1.划分岩层界面
在进行钻井地质剖面地质解释时,其他录井方法都不能准确确定岩层界面,必须依靠电阻率测井曲线来完成这项工作。根据各种类型电极系测得的曲线在岩层界面的特点,可以准确确定岩层分界面位置。当h>AO时,曲线特征明显,岩层分界线位置可靠;当h<AO时,曲线特征不明显,曲线分层的可靠程度降低,分层时需要参考其他测井曲线。
2.确定岩性
地层孔隙水中含盐,导电性强、电阻率低;油层含水少,电阻率高。因此,利用视电阻率曲线可以判断岩石的岩性,划分油、气、水层。对于碎屑岩地层剖面和碳酸盐岩地层剖面,视电阻率曲线特征分别如图3-7和图3-8所示。
图3-7 碎屑岩沉积剖面视电阻率与自然电位曲线示例

图3-8 碳酸盐岩沉积剖面视电阻率与自然电位曲线示例
二、微电极测井
上述视电阻率测井在测量薄层时,曲线幅度没有明显变化,这是上下邻层影响的结果。另外井筒中的钻井液及井径的变化也影响了曲线的形状,使得不能较准确地划分薄层界线。
为了细分层,减少上下邻层、钻井液及井径对曲线的影响,改装下井的电极系,使电极系靠井壁测量岩层电阻率。改装后的电极系的最大特点是电极之间的距离大大缩小了(只有几厘米),由此得名为“微电极系测井”。

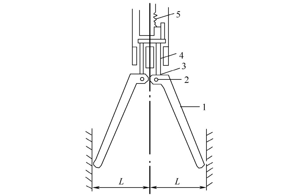
图3-9 微电极测井下井装置
1—仪器主体;2—弹簧片;3—绝缘板;4—电缆
(一)微电极系结构
微电极系安装在一个特殊的下井装置上(见<arel="nofollow" href="327D4D36AC9F496DBA57E6C7DAB56D3D">图3-9</a>)。图中,仪器主体上装有3个(或2个)弹簧片,互成120°(或180°)角;绝缘板装在弹簧片上,靠弹簧片的压力紧贴井壁。在三块绝缘板中,有一块装有三个电极A、M<sub>1</sub>、M<sub>2</sub>,称极板;电极之间的距离为0.025m;三个电极组成两组电极系,即A0.025M<sub>1</sub>0.025M<sub>2</sub>的微梯度电极系和A0.05M<sub>2</sub>的微电位电极系。微电极系电极距短,探测半径小。实验证明,微梯度电极系探测半径为5cm,而微电位电极系探测半径为8cm左右。由于微电极系探测范围小,因此在测量时井壁上有无泥饼对测量结果影响很大,故微电极系测得的视电阻率只反映了靠近井壁附近岩层电阻率的情况。当井径扩大、弹簧片不能与井壁接触时测得的电阻率为钻井液电阻率。若井径不规则,极板与井壁接触不良,在极板与井壁之间夹有薄层钻井液(钻井液薄膜),同样影响测量值。
(二)微电极测井曲线的应用
解释微电极测井资料时,必须参考其他测井资料,方能得到正确的地质解释。微电极测井在定性解释方面主要是确定岩层界面和划分渗透层。
1.确定岩层界面
由于微电极系的电极距短小,紧贴井壁进行测量,消除了邻层屏蔽影响并减小了钻井液影响,因此岩层界面在曲线上反映得很清楚。利用微电极曲线,一般可以划分厚度为20cm的薄层。实验结果显示:微电极测井曲线的分层原理是用微电位曲线的半幅点来确定高电阻地层的顶、底界面。
2.划分渗透层
渗透性岩层的井壁上有泥饼存在,而非渗透性岩层没有泥饼,但井壁与极板间有钻井液薄膜,钻井液薄膜与钻井液对微电极测井都有影响,但影响大小不一样,因此,我们有可能根据微电极测井资料划分出渗透性地层。

图3-10 微电极视电阻率曲线
对于渗透层,泥饼厚度一般在0.2~2cm,泥饼电阻率为钻井液电阻率的1~3倍。形成泥饼后,靠近井壁的岩层孔隙被钻井液滤液充填,形成钻井液侵入带(见图3-10),其电阻率一般为3~10倍钻井液电阻率。微电位电极系的探测半径大于微梯度电极系,因此泥饼对微梯度电极系测量结果的影响大于微电位电极系。当用这两种微电极系对同一渗透层进行测量时,探测半径大的微电位电极系测得的视电阻率主要受侵入带电阻率的影响,显示出较高的数值;而微梯度电极系测得的视电阻率受泥饼影响较大,故显示较低的数值,此时两条微电极曲线出现幅度差。微电位曲线幅度大于微梯度曲线的幅度值,称作正幅度差。渗透性岩层在微电极曲线上一般呈正幅度差,如图3-10所示。只有当钻井液滤液矿化度很高,使得泥饼电阻率大于侵入带电阻率时,微电位曲线幅度低于微梯度曲线幅度,称为负幅度差。
3.确定岩性
在碎屑岩沉积剖面上,根据两条微电极曲线幅度差大小,可以定性判断岩层的渗透性好坏、泥质含量的多少。
泥岩一般表现电阻率低,井壁无泥饼,曲线平缓,无幅度差。渗透性砂岩一般表现为曲线幅度值高,两条曲线存在正幅度差。随泥质含量的增加,岩层渗透性变差,泥饼变薄,正幅度差值变小。泥质粉砂岩的岩性致密,泥饼较薄,正幅度差很小,随泥质增加,正幅度差减小。
三、自然电位测井
如图3-11所示,在井内不供电情况下,测量电极M沿井身移动,可测量出M、N两点电位差,说明井内存在自然电场。井内自然电位的产生是钻井液与地层水之间离子扩散与吸附电化学活动作用造成的。自然电位测井就是测量自然电位随井深变化的数值,用以研究地下岩层性质的测井方法。
自然电位曲线主要应用于以下两方面:
(1)划分岩层界面。对于厚岩层,可用曲线半幅度点划分岩层界面;对于薄岩层,必须与视电阻率曲线配合,才能获得准确结果。
(2)确定渗透性岩层。视电阻率较高的岩层,可能是具有渗透性的油气层或淡水层,也可能是致密岩层(火山岩、石灰岩等),如果配合自然电位曲线解释会获得明确结论,即当地层水矿化度Cw大于钻井液矿化度Cmf时,渗透性岩层的自然电位出现负异常,非渗透性致密层为正异常;而当Cw<Cmf时,情况恰好相反,如图3-12所示。

图3-11 自然电位测井原理示意图
四、感应测井
感应测井是研究地层电导率的测井方法。岩石的电导率是电阻率的倒数,单位为ms/m。电导率是衡量岩石导电能力大小的物理量,岩石的电阻率越大,电导率越小,导电能力越差。
(一)原理
下井仪器如图3-13所示,当振荡器向发射线圈输出固定频率的电流时,发射线圈就会在井周围地层中形成交变电磁场,此时地层中就产生感应电流(又称涡流)。感应电流是交变电流,该电流在地层中同时形成次生电磁场。在次生电磁场的作用下,接收线圈便产生感应电动势。该电动势大小与地层感应电流强度有关,感应电流强度大小与地层电导率成正比,通过电缆将接收信号输送到地面仪器,记录成曲线。
(二)曲线的应用
1.确定岩性
地层电导率是地层电阻率的倒数,因此视电阻率曲线上幅度值大的岩层(如油层、气层、致密砂层等),在感应测井曲线上恰恰都是低幅度值;而低电阻率层(如泥岩层)反而为高幅度值。感应测井曲线上直接记录的是地层电导率,它可以换算成地层电阻率。
2.判断油水层,划分油水界面
感应测井曲线对地层电导率反应极为灵敏,水层电导率明显高于油层。在油水界面附近,由于电阻率的急剧变化,引起地层电导率的急剧变化,在感应测井曲线上表现明显。

图3-12 自然电位曲线

图3-13 感应测井原理图
五、侧向测井
当井剖面岩层电阻率普遍很高或井内充满高矿化度钻井液时,用普通电极系很难划分岩层和确定岩层电阻率。因此采用带聚集装置的电极系进行侧向测井。
侧向测井电极系中除有主电极外,还有一对屏蔽电极,其作用是使从供电电极发出的电力线呈水平层状流入地层,目的是减小钻井液、侵入带和上下围岩对测量结果的影响。
侧向测井按附加电极的个数和电极之间相对距离又分为三侧向、六侧向、七侧向和微侧向测井等,它们的测量原理是相同的。下面以三侧向测井为例来介绍。
(一)基本原理
三侧向测井电极系如图3-14所示。电极系是一个被绝缘物质分成三段的金属圆柱体,中间一段称主电极A0,两端两段称屏蔽电极A1、A2。测井时,主电极A0和屏蔽电极A1、A2通以相同极性的电流,并保持三个电极电位相等。由于电极系中绝缘物厚度很小,电极系长度很大,所以电极系的电场和一个完整的金属圆柱的电场基本一样。主电极的电流I0夹在电极A1、A2之间,被电极电流I1、I2屏蔽。因此主电极的电流不能四散,只能呈一板状电流束进入地层。可以从式(3-1)求得视电阻率值Rs:

图3-14 三侧向测井原理图
(A)—可控电路;R—可控电阻;E—电源;G—电位差计
Rs=KU0/I0
式中 K——电极系数,与电极的尺寸有关;
U0——用电位差计G测得的电极电位,mV;
I0——主电极的电流,A。
U0/I0是主电极接地电阻,它表示主电极电流从电极发出后传至无限远之间的介质电阻,用R0表示,可以看作是井内钻井液电阻、侵入带电阻和地层电阻之和。对于高矿化度钻井液,钻井液电阻和侵入带电阻都很低,接地电阻主要取决于地层电阻。所以,在高矿化度钻井液中进行侧向测井,一般比普通电极系测井探测能力强。
(二)曲线特点及应用
侧向测井曲线中高电阻层具有对称性,最大值在地层中点,解释时只取最大值,可以近似以曲线突变点分层,对薄层分层能力比其他电阻测井要清晰得多。
如果用两条不同电极距的三侧向测井曲线,由于其探测深度不同,受钻井液侵入带电阻率、岩层电阻率影响不一样,根据两条曲线的幅度差可以划分渗透层和油、气、水层。油层、气层曲线幅度差大,且显示正幅度差;水层幅度小或显示负幅度差。
六、放射性测井
在地层水矿化度较高的地区钻井,钻井液常被盐侵,使钻井液电阻率变低,电阻率测井将无法进行。放射性测井是根据岩石的核物理性质,利用岩层中存在的放射性元素或人工产生放射性射线,间接研究钻井地质剖面。由于放射性元素所产生的射线可以穿过金属物质,所以下套管的井中仍然可以进行测井工作。这为油气田投入开发以后了解油、气、水重新分布情况带来方便。因此放射性测井也广泛应用于解决井下工程技术问题。下面介绍两种常用的放射性测井方法。
(一)自然伽马测井
自然伽马测井是通过岩石的自然伽马射线强度来研究岩性的一种测井方法。
1.自然伽马测井装置
井内岩层自然放射性测量示意线路如图3-15所示。自然伽马测井装置包括井下仪器及地面记录装置两部分。记录放射性射线的主要装置是放电计数管,当有射线打入计数管时,它输出一个信号电流(脉冲),经放大器由电缆送到地面记录装置。岩石中自然放射性元素衰变放射出三种粒子,即α、β、γ射线。由于α、β射线的穿透能力弱,在未到达测量仪器之前就被吸收,因此仪器接收的放射性射线是γ射线。γ粒子打入计数管后便由计数管输出一个脉冲。射线强度与放射性元素每秒衰变次数有关,每衰变一次放出一定γ粒子。岩层中放射性元素越多,衰变放出γ射线强度越大,每分钟脉冲值越高(由于放射性元素衰变不稳定,故测得曲线呈锯齿状)。
2.自然伽马测井曲线的应用
自然伽马测井曲线可以配合其他测井资料或地质录井资料进行综合解释,确定岩层岩性。泥岩吸附放射性元素离子能力大,在自然伽马测井曲线上幅度值高;砂岩、碳酸盐岩、石膏等岩层在曲线上显示低幅度值;对于含泥质岩层,根据泥质含量多少,其在曲线上的幅度值介于上述两者之间,如图3-16所示。此外,曲线还可以判断岩层渗透性。
从自然伽马测井曲线上比较容易选择区域性对比标准层,因此,当其他测井曲线难以进行地层对比时,可以用自然伽马曲线进行。
另外,自然伽马测井可以在下套管的井中进行,因此广泛应用于工程技术测井,如跟踪定位射孔、找套管外窜槽等。
(二)中子伽马测井
中子伽马测井是一种人工的放射性测井法。它是用人工产生中子去“轰击”岩层,当中子与岩石中的矿物和岩石孔隙中流体的原子核碰撞后,中子损失了能量,最后被原子核俘获;原子核俘获中子以后,被激发成为激发状态的原子核,它由激发状态过渡到稳定状态时放出伽马射线。为了有别于自然伽马射线,将这种射线称为中子伽马射线或二次伽马射线。岩石性质不同,放出的二次伽马射线强度不同。中子伽马测井就是通过测量岩层原子核俘获中子后所放出的二次伽马射线的强度来研究钻井剖面的。
图3-15 自然伽马测井装置
1—放电计数管;2—放大器;3—高压电源;4—仪器外壳;5—地面记录装置

图3-16 自然伽马曲线解释示例
1.中子伽马测井装置
中子伽马测井地面记录设备与自然伽马测井相同,井下仪器往往也与自然伽马测井仪合为一体,装置结构见图3-17:中子源是产生中子的装置;铅屏是消除干扰的装置,由于中子源在放出中子的同时,产生伽马射线,用铅屏可以消除伽马射线对中子伽马测井结果的干扰;计数管(3)是记录二次伽马射线的装置,由计数管中点到中子源的距离称为中子源距(L),一般L为60~70cm;计数管(4)是用来记录自然伽马射线的装置。
2.中子伽马测井曲线的应用

图3-17 中子伽马测井装置
1—中子源;2—铅屏;3,4—计数管;5—地面记录装置
1)判断岩性
自然伽马测井曲线可以区分碎屑岩剖面中砂岩与泥岩地层。如果砂岩中也含有放射性元素,也会有较高的放射性强度,对于这种剖面仅用一条自然伽马测井曲线是很难区分的。此时可用中子伽马曲线与自然伽马曲线配合。对于含氢量较多的泥岩,中子伽马曲线呈低幅度,而砂岩呈现高幅度。
2)判断油、气、水层
在含高矿化度地层水的地区,地层水含大量氯化钠,水层中的氯含量远大于油层。在这种情况下,水层的中子伽马曲线显示高值,而油层为中等值,利用这个特点可划分油水界面。中子伽马测井判断气层更为有效,气层含氢量低于油水层,曲线上显示为高值。
3)判断岩层孔隙度
岩层孔隙中,在溶液性质一定的情况下,曲线幅度反映了岩层孔隙度的大小。
七、声波时差测井
声波时差测井是利用测定声波在地层中传播的速度,从而确定岩层特性和区分油、气、水层一种测井方法。
(一)原理
如图3-18所示,在井下仪器中装有一个声波发生器和两个接收装置,两个接收器与发生器之间的距离不同。声波发生器向地层发射一定频率的声波时,经地层传至接收器的初至波到达两个接收器的时间不相同,两者的时差为Δt(单位μs,1μs=10-6s),两个接收器一般相距0.5m,即Δt相当于声波在地层内通过0.5m所需的时间。随着仪器在井筒内上提,可以得到Δt沿井身的变化曲线。声波在岩石中传播速度随岩石密度的增加而加快。不同性质的岩石,其密度和结构不同,声波在岩石中的传播也速度不一样。因此,可以根据声波的传播速度来研究岩石特性。

图3-18 声波时差测井原理图
1—声波发生器;2—接收器1;3—接收器2(二)声波时差曲线的应用
1.判断岩性
岩石越致密,声波时差测井的Δt越小;岩石越疏松,孔隙度越大,Δt越大。
2.区分油、气、水层
声波在水中传播的速度大于在石油中传播的速度,而在石油中的传播速度大于在天然气中的传播速度,故孔隙中含有不同的流体可以从声波时差曲线上反映出来,对油气界面和气水界面划分尤为明显。
八、井径测井
在钻井过程中,由于钻井液、钻头和钻杆对地层的撞击等原因,使岩性不同的井段井径大小不一样。在地球物理资料解释和解决某些油气井技术问题时,需要了解沿井身井径的变化情况。
(一)测量原理
如图3-19所示,电阻式井径仪的仪器腿依靠弹簧的张力与井壁紧密接触,当井径改变时,仪器腿绕腿轴转动,使凸轮带动连杆上下移动,连杆与电位器滑动端相连接,可变电阻随井径改变而改变。

图3-19 电阻式井径仪工作原理
1—仪器腿;2—腿轴;3—凸轮;4—连杆;5—可变电阻(二)井径测井曲线的应用
渗透性岩层井壁有泥饼,会使井径缩小;泥岩层、疏松岩层井壁易垮,井径变大;坚硬、致密层井径与钻头直径相近。因此可用井径曲线粗略判断钻穿地层的岩性。
另外,可根据平均井径、套管直径及固井井段的长度,计算固井水泥用量。井径还可以作为地球物理测井曲线解释参考资料。



